Elektrosmog neutralisieren Teil 3: F. König’s MHR und SHLS für Haus, Auto, Smartphone, PC, Steckdosenleiste & einiges mehr…

H-Plus MHR Minus-Pol – diese Seite muss auf auf die Strahlungs- bzw. Störquelle gerichtet werden! Foto: H.C.
In diesem Teil der Serie schaue ich mir die Mehrkammer-Hohlraum-Resonator (MHR) sowie Schicht-Hohl-Leiter-Systeme (SHLS) von Florian König Enterprises genauer an, welche es schon seit über 25 Jahren in verschiedenen Varianten gibt. Diese sind „Elektrosmog-Auswirkungs-Reduzierer“ im weitesten Sinne, da sie meinen Tests nach auch geobiologische Störungen (wie z.B. Wasserandern und Currynetze) für den Rutengeher „unsichtbar“ machen und Wirk-neutralisieren können – zumindest ein paar Meter um das Rohr.
Letzteres geben auch viele andere Hersteller an und es ist insofern „nichts besonderes“ in diesem Marktsegment. Speziell für Geophatien gibt es jedoch auch deutlich günstigere Lösungen, weswegen König diesen Aspekt wohl nicht bewirbt. Es bestätigt jedoch für mich, das Geopathien „auch nur eine Form von Elektromsog“ sind.
Zurück zu König: Das, was mich initial zu König und seinen MHR und SHLS brachte, war das es Zellstudien [8][9][12][17] zu seinen Produkten gab. Solche, wie sie auch in der Pharma-Forschung benutzt werden. Dies, und radiästhetische Messungen zeigen mir, daß Königs MHR & SHLS „was machen“. Ein weiterer wichtiger Unterschied in Bezug auf die Mitbewerber liegt bei Königs Produkten zudem darin, daß er den Aufbau und den Inhalt seiner Geräte offen legt. Dies geschieht ganz faktisch, u.a. in zwei ziemlich ausführlichen Patentschriften [P1][P2].
Artikel in Nexus-Magazin, Raum&Zeit, dem .Net-Magazin und ein eher schlichter und fakten-orientierter Auftritt im Internet taten ihr übriges, um mich neugierig zu machen.
Die Top 5 der wichtigsten Dinge in diesem Artikel
- Warum F. König’s MHR & SHLS wirken ist klassisch physikalisch gesehen „unklar“,
jedoch ist dies mit anderen Ansätzen, u.a. der BioGeometry und dem Heim R-12 Model, durchaus mess- und erklärbar. - Zellstudien, empirische Erfahrungen, Winkelrute & Beobachtungen belegen für mich,
dass die MHR & SHLS gut! funktionieren. Aus meiner Sicht besser als die Produkte der mir bekannten Mitbewerber im Kontext Elektrosmog. - F. König ist für mich aktuell der transparenteste Hersteller im Segment alternativer Anti-Elektrosmog-Geräte
speziell im Segment der von mir bevorzugten „uninformierten“ Konzepte bzw. Lösungen, die insofern rein über Physik, Materialien und Geometrien arbeiten. - Das Grundkonzept der MHR- & SHLS-Rohre und auch die Ankopplungsweisen setzt physikalische Grundprinzipien um,
die man im Sinne meines Arbeitsmodelles weiterdenken kann. - Ja! Die „König-Teile funktionieren“ und ich würde alles wieder kaufen!
Für mich sind die Geräte faktisch konkurrenzlos im Kontext „biologische Auswirkungen von Elektrosmog reduzieren“.
Das Wichtigste für mich vorab: Die Systeme von König sind nicht „informiert“ und basieren auf einer handfesten elektrotechnischen bzw. physikalischen „Grund-“ Annahme: Der 3-dimensionalen Verlängerung des „Wellensumpfes“ der HF-Technik. Ob das resultierende (Kupfer-) Rohr nun der primäre Grund für die aus meiner Sicht gute Funktion der SHLS oder MHR ist, weil sich um oder in solchen zylinderförmigen Hohlraumstrukturen u.a. radiästhetisch feststellbare Felder bilden, lasse ich für den Moment dahingestellt.
Interessant ist noch, das Königs Geräte in bestimmten Kontexten installiert bzw. benutzt werden müssen, um die volle Wirkung zu erreichen, was eine physikaische (naturgesetzmäßige) Ordnung bei der Funktionsweise nahelegt. Königs Produkte werden so in der Regel:
- mit dem Minuspol im 90 Grad Winkel (orthogonal) auf Stromleitungen angebracht,
- direkt peilend auf Mobilfunkmasten gerichtet (MHR),
- werden mittels Stecker kapazitiv an Masse (-) und Betriebsspannung (+) eines Gerätes (z.B. Smartphone, PC, Automobil), angekoppelt (SHLS & MHR),
- oder die Stromleitungen werden einzeln durch seine Rohre geleitet (SHLS).
Das erklärt zwar erst einmal nicht warum es funktioniert. Es bedeutet (für einen Elektro- und Nachrichtentechniker wie mich) jedoch, wie schon geschrieben, dass hier irgendetwas „Systematisch–Physikalisches“ bzw. „Naturgesetzliches“ am Wirken sein muss. Königs Geräte funktionieren also nicht „willkürlich oder zauberhaft“, sondern in einem klar umrissenen räumlich-geometrisch-physikalischen Zusammenhang!
Im Artikel versuche ich nun dem, was wir wissen und ggf. erahnen können, auf dem Grund zu gehen. Folgende Themen betrachte ich:
- Vorwort zu diesem Artikel
- Wer ist Florian König (Enterprises GmbH)?
- Was die MHR & SHLS Produkte von anderen klar unterscheidet: Der Versuch die Physik (ohne Pseudosprache) zu erklären!
- Zum Aufbau der König-Technologie:
- Alt & Neu: Mehrkammer-Hohlraum-Resonator (MHR)
- Königs neuere Varianten: Schicht-Hohl-Leiter-System (SHLS)
- Zu den Versuchen
- Aktuelle Studien und Versuche an Zellkulturen bei Dartsch Scientific (2024)
- Ältere Studien und Versuche an Zellkulturen bei Dartsch Scientific (2017, 2019, 2020)
- Ergebnisse des LED-Experiments bei Dartsch (2020)
- Die verschwundenen 6 µg (Versuche mit hochpräziser Deltawaage)
- Warum könn(t)en König „Rohre“ effektiv wirken?
- „Klassischer gedacht“: Den Wellensumpf weiter gesponnen
- Interessante Anekdote: Der Tarnkappentechnik-Wellensumpf!?
- Warum funktionieren die verschiedenen „Kopplungsmethoden“ von König (u.a. Transversal, Längs, Kapazitiv, ggf. Induktiv) scheinbar alle?
- Produktübersicht über die König-MHR & SHLS
- Eigene & andere Erfahrungen + Kurioses
- Schmankerl: KING-1
- Zwei indirekte Aussagen von Königs Versuchen bei Dartsch
Am Ende des Artikels folgt mein übliches Fazit.
Tipp: Hier geht es zu meiner großen EMF-Serie – und den anderen Teilen dieser „Unter“-Serie.
Inhaltsverzeichnis für den Schnellzugriff
Vorwort zu diesem Artikel
Ich habe lange überlegt, wie ich diesen Artikel gestalten soll:
- a) als kompakte Zusammenfassung der Fakten über Königs Technologie auf Basis von Studien und Veröffentlichungen oder auch
- b) als Tiefenbohrung, um ein breiteres Verständnis zu erhalten, was die MHR-Rohre und SHLS ggf. „physikalisch“ bewirken könnten.
Ich habe mich für b) entschieden, wobei mich meine Forschungen nach dem Schreiben des Artikels überholt haben, denn ich denke, dass ich inzwischen ein praktikables Modell für die Wirkungsweise von Königs Rohren und ähnlichen Ansätzen habe, welcher u.a. auf VNG und HNG basiert. Insofern habe ich diesen Artikel nur in kleinen Teilen überarbeitet, sodaß er mit meinen neuen Überlegungen im Einklang steht.
Wer nur an a) interessiert ist, sollte liest bitte den Anfang und das Ende dieses Artikels und bei mehr Interesse die verlinkten Artikel von König im Nexus-Magazin [5][6][7], den neusten Artikel im NET Journal [16] und ggf. auch noch seine Berichte in Raum & Zeit [1][2][3][4], wobei diese nicht öffentlich lesbar zur Verfügung stehen. Wer die Studien im Japan Journal of Medicine (JJM) [9][11][17] lesen möchte, dem empfehle ich jedoch, erst einmal das Lesen dieses Artikels, weil ich die interessanten Ergebnisse hier zusammenfasse.
Für alle, die nur an „funktioniert“ oder „nicht“ interessiert sind: Die MHR & SHLS machen was! Definitiv und von mir unbestritten + selbst erfahren und in einem sehr relevanten Maßstab mit sehr viel Abstand zu anderen Ansätzen. Einzig die Light-Life Tools machen meines Wissens nach noch etwas ähnliches, wobei diese 1) nicht auf den Elektrosmog-Einsatz spezialisiert sind und 2) man die Tools teils individuell abgestimmt auswählen sollte bzw. muss.
Wer an den Details nicht interessiert ist, mag direkt zum Ende des Artikels „vorspulen“ und bekommt eine Übersicht über meine und andere Erfahrungen, eine Liste von Königs Geräten sowie deren Einsatzzwecke.
Ach ja: Einen „Discount Code“ für König Produkte gibt es nicht. Ich selber verdiene nichts am Verkauf. Ich schreibe diesen Artikel, weil ich von der Idee und einigen selbst erfahrenen Wirkungen grundsätzlich fasziniert bin. Nicht mehr, nicht weniger. Falls ihr bei König bestellt, könnt ihr jedoch gerne angeben, davon über H.C.’s Blog erfahren zu haben.
Wer ist Florian König (Enterprises GmbH)?
(Dr.) Florian M. König ist der Sohn von Herbert L. König, der zusammen mit Otto Schumann die „Schumann-Frequenz“ entdeckte. König hat über 100 Patente beim (deutschen) Patentamt gelistet, wobei diese sich zu einem großen Teil um die Akustik und Kopfhörer-Entwicklung (u.a. der Ultrasone Electroacoustics GmbH) drehen, was jedoch einen Kreis schließt, zu dem ich später in diesem Artikel kommen werde.
Im Kontrast zu anderen Herstellern fällt auf, daß König sich bei Artikeln in Magazinen des alternativ-wissenschaftlichen Spektrums (u.a. Nexus-Magazin, Raum & Zeit, Net-Journal) und auch auf seiner eigenen Firmen-Webseite eher nüchtern und wissenschaftlich präsentiert, so dass man im heutigen Multimedia-Spektakel diesen Anbieter schnell übersehen kann, der aus meiner Sicht eher als „Insider“-Tipp gilt.
Zudem hat König auch mehrere, teils erteilte US-, EU- und DE-Patente angemeldet, in denen er ein „bio-konformes“ Mobilfunkverfahren beschreibt. Kernstück ist das US-Patent 7 224 738 („Method of high-frequency signal transmission“) [P3]. Er verknüpft in seiner Lösung das GSM/UMTS-Signal mit einer niederfrequenten, aperiodischen „Fair-Weather-Sferics“-Hüllkurve bzw. mit Schumann-Resonanzanteilen. Diese natürliche, stochastische Pulsstruktur soll die stark periodische Taktung konventioneller Mobilfunksignale entschärfen und damit die „Elektrostress“-Wirkung auf biologische Zellsysteme verringern.
Andere Arbeiten im Kontext Sferics und auch seine Doktorarbeit (The Meaningfulness of Nature-Related Radiation Forms and Resulting New Technologies) [13] vervollständigen die Bandbreite der langen Beschäftigung von König mit dem Themengebiet der natürlichen und technischen elektromagnetischen Felder & Phänomene. Aus meiner Sicht hat König damit die größte (umfassende) Fachexpertise im Bereich der „alternativen“ Elektrosmog-Reduzierung.
Was die MHR & SHLS Produkte von anderen klar unterscheidet: Der Versuch, die Physik (ohne Pseudosprache) zu erklären!

H-Plus MHR Rohr von König. Macht auch geobiologisches mit der Winkelrute „unmutbar“ – zumindest bei mir. Foto: H.C.
Beim Nexus-Treffen (Geistreich am Teich, 2024) nahm ich an zwei Workshops mit Florian König teil und konnte viele Fragen stellen, die er bereitwillig beantworte. Vorher hatte ich mich nur aus Artikeln aus Raum & Zeit [1][2][3][4] sowie dem Nexus-Magazin [5][6][7] über seine Geräte informiert. Ich bekam fachlich versierte Antworten, klar unterscheidend zwischen Hypothese, Vermutung und Beweis und auch „Ich weiß es nicht“, wenn meine Fragen zu „spekulativ“ wurden.

H-Plus MHR in einem HT-Rohr für den Außen-Sicherungskasten. Zeigt auf 3*32A Leitung. Foto: H.C.
Im Unterschied zu vielen seiner Mitbewerber kommt bei König zudem „richtig viel verschiedenes Material“ zum Einsatz: Kupfer(rohre), andere Metalle, (Rosen-) Quartz– und Kohlenstoff-Füllungen, Permanent-Magneten in definierter Polungsrichtung, beschichtete Folien, Nano-Materialien, uvm. Letztendlich setzt er das volle Spektrum aus Ferro-, Para-, Dia-Magnetismus, nicht magnetischen Werkstoffen, Piezo-Elektrischen, elektrisch Leitenden und nicht leitenden Materialien ein. Sehr viele Details in Bezug auf den Aufbau seiner Geräte sind in verschiedenen Patenten dokumentiert [P1][P2]. König schreibt u.a. dazu [14]:
„Bei MHR‘s und SHLS handelt es sich um geometrische Kupferrohr-Festkörper in Anlehnung an die Hochfrequenz-Elektrotechnik, die mit unterschiedlichen Materialien wie Kohlenstoff, Metallen und Halbleiter-Materialien in patentrechtlich gesicherter, geschichteter Anordnung befüllt sind“
Warum und wie genau nun seine Produkte „wirken“, weiß auch er nicht vollständig, weil man dafür erst einmal genau verstehen müsste, wie EMF’s überhaupt voll-umfänglich auf biologisch Organismen (ein)wirken. Das kann bisher keiner erklären. Allerdings ist König klar, daß
- eine Seite seiner MHR quasi (diverse) „Schadkomponenten von EMF an-/absaugen„,
- dann transformieren bzw. transmutieren und
- auf der anderen Seite eine biologisch nützliche Strahlung emittieren.
Man kann das Ganze, in Anlehnung an Teil 2 dieser Serie mit einem VNG- nach HNG–Transmutator vergleichen, bzw. einem Phasenwandler, der die (schädliche) vertikale Phase einer „skalaren, longitudinalen, bzw. torsionalen Welle“ in die (biologisch nützliche) horizontale Phase überführt, allerdings mit „Wumms“ und ein einigen Extra-Bändern um VNG herum. Wichtig: Es wird keine Energie erschaffen oder weggenommen, es wird einzig die Phase transformiert – ähnlich wie ein Prisma weißes Licht in seine Komponenten „zerlegt“. Soweit zu meiner Sichtweise auf die Dinge.
Königs eigene Grundidee bei allem ist jedoch der Wellensumpf. In der praktischen Hochfrequenztechnik (HF-Technik) findet man Wellensümpfe oft in Form von runden Schleifen oder offenen Enden an Leiterbahnen. Diese dienen dazu, Reflexionen, stehende Wellen oder Störungen zu minimieren, was ansonsten die digitale Übertragung von 1-0-1 etc. Bitfolgen (bzw. Spannungspegeln) „regelrecht zerhageln“ würde. König schreibt dazu im Nexus-Magazin [6]:
„Ich erfuhr damals, dass es mit diesem Wellensumpf eine Art Leck im Energieerhaltungssatz gibt – 20 Prozent der Nutzwellenenergie sind einfach weg und elektrophysikalisch nicht mehr messbar. Das machte mich extrem neugierig und ich experimentierte mit einem keil- bzw. pyramidenartig geformten sowie insbesondere kreis- bzw. ringförmigen Wellensumpf aus unterschiedlichsten Materialkombinationen herum.“ in Verweis auf [19, Kap. 9.1. (s. Wellensumpf)]
Anzumerken ist hier, daß in der klassischen HF-Theorie die „verschwundene“ Energie unter „schwer lokalisierbare“ Verluste klassifiziert werden (z.B. kleine Strahlenanteile, nicht erfasste Dämpfung), wobei ich denke, daß diese in eine andere (ggf. skalare / torsionale) Feldform (u.a. VNG) transformiert werden. Die klassische Messtechnik redet sich damit heraus, daß eine genaue Messung, u.a. aller und auch thermischer Verluste, sehr schwierig ist. König weiter:
„Erweitert man diesen flachen Ring nun entlang der Senkrechten, kommt dabei das Herzstück meines MHR heraus: ein Kupferrohr, das vornehmlich mit Siliziumoxid- und Kohlenstoffmaterial-Granulaten geschichtet befüllt ist. Darin sollen sich bestimmte Wellenarten quasi totlaufen.“
Schlussendlich hat König wohl einen Wellensumpf mit Absorptionsmaterialien konstruiert bzw.einen Hohlraumresonator mit speziellen Materialien und Charakteristiken. König verweist zusätzlich für mögliche Wirkprinzipien seiner Geräte auf die Lenz’schen Regel (u.a. bei MHR mit senkrechter Peilanordnung), das Induktionsgesetz, den Skin– und Casimir-Effekt (u.a. in Bezug auf die verwendeten Kupferrohre).
Die Effekte dieser Geräte setzten sich anscheinend in den „Stromkabeln“, bis hin zu den Verbrauchern fort, z.B. einem Backofen, der Beleuchtung, einem Radio, einem PC, Bildschirmen, aber auch DECT-Telefonen sowie WLAN-Routern. Letztendlich könnte das gesamte (angekoppelte) Stromnetz im Haus sogar wie ein „Schutzkäfig“ funktionieren, der auch externe Einflüsse, u.a. dreckige Elektrizität und „Wellensalat“ von Nachbarn „einfängt“ und minimiert. Auch das passt für mich durchaus zu meiner VNG-Absaug-Theorie.
Und nicht nur das: Funk-Signale, ggf. auch Licht, welche(s) mit dem „behandelten Strom“ ausgestrahlt wird, scheinen von den Effekten betroffen – und das nicht nur im Nahfeld. Zudem haben die Rohre auch Distanzwirkungen, u.a. wenn diese auf Mobilfunkmasten gerichtet werden, wie es in einem Artikel aufgezeigt wird [1]. Für mich ist auch das plausibel.
Zum Aufbau der König-Technologie: Mehrkammer-Hohlraum-Resonator (MHR)
In zwei Patenten [P1][P2] legt König den Aufbau seiner MHR- und SHLS-Rohre offen. Zumindest in vielen Aspekten, ohne daß man seine Rohre aufsägen muss, um einen Überblick zu erhalten. In der Patentanmeldung wird auch darauf hingewiesen, daß die Wirkung mit Zellkulturen überprüft wurde, wobei die Ergebnisse in Journalen veröffentlicht wurden, worauf ich später noch im Detail eingehe.Erste positive Erfahrungen machte König wohl, als er vor 30 Jahren Rosenquarz in Pyramidenform in seine Kupfer-Rohre integrierte [16]. Geholfen hatte ihm bei der gesamten Entwicklung ein eigenes Unglück in der Jugend, durch das er sehr empfindlich gegenüber Wetteränderungen und elektrischen Feldern, ggf. auch uns unbekannten Feldkomponenten wurde, auf die ich weiter unten noch eingehe. Ähnliches ist dem ICES-Erfinder R.G. Dennis widerfahren, der seine PEMF-Geräte auch nur durch die Folgen seines eigenen (schweren) Unfalls optimieren konnte.
Grundsätzlich unterscheidet König seine Geräte in MHR und SHLS. Das MHR ist ein röhrenförmiger Hohlraumresonator aus elektrisch leitendem Material (z. B. Kupfer) bestehend aus [P1]:
- Einem elektrisch leitfähigen Rohr (z. B. aus Kupfer) mit verschiedenen Kammern sowie Eingangs- und Ausgangsseite.
- Die Kammern sind zentral im Rohr positioniert, während sich zusätzliche Rohrvolumina (D, E) an den Enden befinden.
- Das Quarzmaterial an den Rohrenden hat unterschiedliche Korngrößen und eine unterschiedliche Verteilung der Korngrößen.
- Die axial verteilten Kammern sind mit unterschiedlichen Füllmaterialien bestückt.
- Die Kammern im Rohr sind zudem durch Metalltrennwände voneinander getrennt (u.a. Kupfer, Eisen, Zink oder Aluminium).
- Es gibt typischerweise zwei oder drei Kammern, die mit Quarzsand und Quarzgranulat in verschiedenen Körnungen, optional Rosenquarzsteinen, gefüllt sind.
- Die zentrale Kammer kann weiter in zwei gleich große Unterkammern aufgeteilt sein, die durch (Trenn-) Wände aus Kohlenstoffmaterialien wie Kohle, Asche oder Pottasche getrennt sind.
- Ein Kupfer- oder Magnetelement am Ausgang des Rohrs zur Verstärkung der Wirkung.
- Das magnetische Element kann eine Magnetstrahlvorrichtung, ein Magnetring oder eine kleine Magnetröhre sein.
- Das Kupferelement ist oft als Drahtspule (im Uhrzeigersinn oder gegen den Uhrzeigersinn gewickelt) ausgeführt.
- Die Oberfläche des Kupferelements kann eine Nanobeschichtung aufweisen, die CO₂-haltige Materialien und Metallanteile enthält.
- Die Kupfer- und Magnetelemente sind so angeordnet, dass das Kupferelement am Rohrende liegt, während das magnetische Element weiter innen im Rohr platziert ist.
- Nanobeschichtungen auf oder in bestimmten Elementen zur Optimierung der Funktion.
Ein Ende des Rohrs (Eingang) ist für die Bestrahlung mit elektromagnetischen Feldern vorgesehen, das andere Ende soll auf Organismen gerichtet werden. Es wird kein exakter numerischer Wert für Länge oder Durchmesser der Rohre angegeben, wobei die Patentschrift beschreibt, dass sich die Längen- und Größenverhältnisse der Kammern auf die Funktion auswirken können. Die einzelnen Kammern haben jedoch unterschiedliche Füllmaterialien und Variationen in der Korngröße des Quarzes.
Königs neuere Varianten: Schicht-Hohl-Leiter-System (SHLS)
Das SHLS [P2] ist im Gegensatz zum MHR, was z.B. auf einen stromdurchflossenen Leiter oder Mobilfunkmasten zeigt, ein System, das zum direkten Anschluss an ein ein- oder zweiphasiges Wechselstromnetz gedacht ist, wo die stromführenden Leitung durch die Rohre laufen. Das System besteht aus [P2]:- Zwei elektrisch leitende Röhren pro Stromphase einer (üblicherweise) 230V Wechelspannungsversorgung.
- Eine Röhre enthält den Phasenleiter (L), die andere Röhre den Neutralleiter (N).
- Beide Röhren sind mit Quarzmaterial gefüllt und nahe beieinander positioniert, vorzugsweise parallel.
- Magnetischen und kupferbasierten Elementen zur Verstärkung der Wirkung.
- Magnetische Ringe an einem Ende der Röhren und ein Quarzring, insbesondere Rosenquarz.
- Drahtspulen aus Kupfer zur Beeinflussung des Feldes.
- Partitionen aus Metall oder Kohlenstoffmaterialien zur Strukturierung der Röhren.
- Nano-Beschichtungen auf Metall- und Magnetelementen mit CO₂-basierten Materialien und Graphen-Partikeln.
- Anisotrope (-> Richtungsabhängige) Befüllung mit Quarzmaterial unterschiedlicher Größe und Konzentration entlang der Röhrenachse.
- Die Füllung ist in beiden Röhren gleich, aber die Röhren sind entgegengesetzt ausgerichtet, um eine optimale Reduktion von EMF-Stress zu erreichen.
- Ein geschlossenes Gehäuse um die Röhren bestehend aus Stahl, Zink oder Eisen, wobei der Zwischenraum zwischen den Röhren mit Quarzmaterial gefüllt ist.
- Die Trennwände können auch Kohlenstoffmaterialien oder Asche enthalten.
- Nanobeschichtungen bei metallischen und magnetischen Elementen, sowie Quarzringe können möglich sein.
Das SHLS gibt es in verschiedenen Varianten in verschiedenen Produkten. Zudem können die Rohre auch in einer V-Formation angeordnet sein. Die (optionale) dritte und vierte Röhre sind ungefähr gleich groß, mit Quarzmaterial gefüllt und in einem Winkel angeordnet. Wobei der Schnittpunkt ihrer Achsen auf die ersten beiden Röhren ausgerichtet ist.
Meine Vermutung ist, daß König hier versucht, ein möglichst breites Spektrum an Feldeffekten und Frequenzen in irgend einer Weise abzudecken. Die verschiedenartigen Elemente und der komplexe Aufbau mag sich in Optimierungsschritten über die Zeit ergeben haben. Hinweise auf bestimmte Geometrien, Phi, Goldener Schnitt, Fibonacci, Global Scaling gibt es nicht bzw. diese werden in den Patenten nicht beschrieben.
Zu den Versuchen
Zusätzlich zu seinen veröffentlichten Studien beschreibt König in Berichten vom Nexus-Magazin und Raum & Zeit [1-7] zusätzliche Versuche, Erfahrungen, Projekte bei Referenzkunden sowie „Anekdoten“. Aktuell [16] auch sehr alte Versuche aus den 1990’er Jahre mit einer Falschfarben „Aura“-Fotografie. Ich selber habe noch eigene Eindrücke gewonnen, welche ich weiter unten vorstellen werde.
In jedem Fall empfehle ich das Lesen der Primärquellen, speziell die Artikel in Nexus und Raum & Zeit sind hier sehr lesenswert. Der neueste Bericht im Net-Journal [16] ist ebenfalls zu empfehlen, u.a. da dieser, wie auch die Nexus-Artikel, Online als PDF abrufbar ist.
Aktuelle Studien und Versuche an Zellkulturen bei Dartsch Scientific (2024)

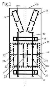
Dargestellt sind die Aufbauten der Experimente 1 und 2 mit vertikaler (A1) und horizontaler Spulenwicklung (C1) um die Zellschalen; die grün oder blau gefärbte Spule wurde für diese Experimente 1 und 2 immersiv in das ERS eingebaut. Auf der anderen Seite ist die Richtung der magnetischen Spulenfeldwirkung auf die Zellkulturen durch einen rot gefärbten Pfeilvektor (A2) für das erste Experiment dargestellt. Quelle: [12]
In der letzten Untersuchung gab es ein aktiv sendendes Mobiltelefon (4G/GSM) als Strahlungsquelle. Dabei wurde, unter Verwendung eines thermisch isolierenden „Cell Shells“, um eine direkte Erwärmung der Zellkulturen zu vermeiden, eine Strahlungsintensität von ca. 1,25 W/m² an der Zelloberfläche gemessen. Diese Bestrahlung wurde für 2 Stunden aufrechterhalten, wonach eine „Ruhepause“ von 22 Stunden vor der Bewertung erfolgte, in denen sich die Zellen ggf. erholen können. Wie das Mobiltelefon in einem „aktiv sendenden“ Modul gehalten wurde, wurde nicht detailliert erklärt.
Es wurden vier verschiedene Versuchsanordnungen getestet, jedoch nicht genau erwähnt mit welchem der König-Systeme der Testaufbau vergleichbar ist. Ich denke, daß es ein altes 1-Kanal SHLS war, was inzwischen durch das USB-SHLS und das 4-Kanal (Umhänge) SHLS abgelöst wurde. Diese sollen deutlich leistungsfähiger sein [16]. Im Versuch wurden verschiedene Konfigurationen getestet, wobei ein Draht, dessen eines Ende in einem SHLS terminierte (-> steckte bzw. eingetaucht war), jeweils anders um die Versuchsobjekte gewickelt wurde [12]:
- Vertikal um den Zellkulturschalen gewickelt,
- Horizontal um die Zellkultur gewickelt.,
- Vertikal um das Mobiltelefon angeordnet und
- Direkte galvanische Kopplung des SHLS an den Kopfhöreranschluss des Mobiltelefons (ala Mobile Phone SHLS).
Ggf. wichtig: Bei allen Versuchansordungen konnte kein Einfluss auf das HF-Feld bzw. die gemessene HF-Sendeleistung erfasst werden. Das biologische Wirkprinzip von Königs Systemen scheint also nicht mit der Elimination von transversalen elektromagnetischen Wellen bzw. Feldern im Zusammenhang zu stehen, was im Kontext von VNG plausibel ist.

USB-SHLS für den PC(Notebook bzw. alle USB-Ports in Flugzeug, Auto und über Adapter auch am Mobiltelefon. Macht was! Foto: H.C.
Mit einer Zellvitalitätsmessung der Zellkulturen wurden nachfolgend die Effekte der Strahlung und der SHLS-Varianten mittels eines XTT-Assays erfasst, der die Aktivität mitochondrialer Dehydrogenasen misst (vgl. Roehm et al., 1991; Brosin et al., 1997). Statistische Auswertungen erfolgten mit dem Wilcoxon-Mann-Whitney-Test. Folgende Zellvitalitätswerte wurden durch König und Dartsch bei den Versuchsreihen eines Versuchsaufbau ohne SHLS angegeben, wobei die Kontrolle mit 77% Zellvitalität angegeben wurden [12]:
- Vertikaler Draht: ca. +9,92 % (86,92 % absolut)
- Allerdings mit stark unterschiedlichen Einzel-Zellaktivitätswerten von ca. -14 bis +40% gegenüber der Kontrolle
- Horizontaler Draht: ca. +3,72 % (80,72 % absolut)
- Ebenfalls mit Werten von -19 bis ca. +20% – recht homogen verstreut.
- Vertikaler Draht um das Mobiltelefon: ca. +11,67 % (88,67 % absolut)
- Werte von 0 bis ca. 20%
- Direkte galvanische Kopplung: ca. +21,19 % (98,40 % absolut!)
- Werte von 12 bis ca. 28% mit einem Ausreißer bei 0%.
Interessant nach König: Besonders ausgeprägte (positive) Effekte traten in Bereichen auf, in denen die SHLS-Komponenten in unmittelbarer Nähe zu den Zellkulturlöchern positioniert waren. Ich führe dies auf ein HNG bzw. Gr+ (Horizontal) Feld um die SHLS zurück.
Meine Kritik an den Tests wäre, daß diese a) wenig Praxisrelevant scheinen und es b) keine Kontrollen mit Draht und ohne SHLS-Kopplung (-> Sham-Versuch) gab. Die breite Vitalitätswert-Streuung der Einzelwerte der 16 Zellkulturschalen, speziell in den Versuchen 1,2 und 3, kann leider nicht genau gedeutet werden, da die Positionen in der Schale aus den Bildern der Studie nicht ableitbar sind. So könnte z.B. der Einfluss eines nicht homogenen HF-Feldes des Mobiltelefon im Nahbereich solche Streuungen (-> Nahfeldgradienten) verursachen. Es wäre
- a) interessant gewesen, ob sich auf 3-5 Meter Entfernung über einen SHLS-Steckdosen betriebenen WLAN-Router bei Zellkulturen etwas ändert.
- b) Weiterhin könnte ein kurzgeschlossener bzw. kapazitiv (über einen Kondensator) angekoppelter Draht um die Zellkulturen schon lokale Effekte auf das Nahfeld des Mobiltelefons haben, wobei Versuch 4 jedoch extrem positiv ausfällt.
- c) Zudem ist zu beachten, dßs Effektgrößen innerhalb einer Zelllinie bleiben und keine Primärzellen verwendet wurden.
Die Auswirkungen sind jedoch in Bezug auf ein angebotenes Mobile-Phone SHLS relevant, da dort die räumliche Konfiguration von Smartphone, SHLS und Mensch ähnlich ist!
Ältere Studien und Versuche an Zellkulturen bei Dartsch Scientific (2017, 2019, 2020)
In vorherigen Untersuchungen bei Dartsch (2017) mit SHLS und MHR [8], konnte in ähnlichen Messungen mit einer, wohl über SHLS Stromversorgten DECT-Basisstation, die Zellvitalität von 44,06 % (Kontrolle) auf 86,8 ± 4,3 % gesteigert werden. Wurden hier noch zwei gekreuzte MHR kombiniert, welche mit dem Pluspol auf die Proben zeigten, konnte die Zellvitalität sogar auf 95,22 % erhöht werden, was eine nahezu vollständige Neutralisation der DECT-Strahlungseffekte darstellt. Die MHR alleine waren jedoch im Nahfeld (ala Personenschutz) nicht so effektiv wie ein SHLS, wobei anzumerken ist, dass dies auch nicht die übliche Aufgabe der MHR ist.Ganz klar wurde jedoch gezeigt, daß die MHR eine richtungsspezifische Wirkung haben: Eine Seite wirkt in Richtung technische Störquelle (-> „Absaugend“), die andere wirkt in Richtung biologischer Organismen (-> biologisch positiv). Auch das geht überein mit meiner VNG nach HNG-Transmutator-Theorie.
Ein späterer Versuch bei Dartsch, der in zwei Teilen, 2019 [17] und 2020 [9] im Japan Journal of Medicine (JJM) veröffentlicht, beschreibt die Nutzung eines Mobiltelefon [17] bzw. einer DECT-Basisstation [9] für Tests mit neuen (nRD) und alten (sRD) MHR-Varianten. Für mich waren die Texte teils verwirrend, da ich nicht immer wusste was nun genau gemeint ist bzw. was wo in welchen Abständen positioniert war. In der 2019er Studie fehlen viele Angaben zum Versuchsaufbau und in der 2020er wird über Tests mit Mobiltelefonen geschrieben, die dort nicht vorkommen, jedoch in der 2019er Studie.
Erst 2024 wurden die alten Versuchsaufbauten mittels Bild beschrieben [12], wobei das Mobiltelefon in der Übersicht fehlt. Zudem blieb unklar, wie dieses in einen kontinuierlichen Sendemodus versetzt wurde bzw. werden kann, so dass vergleichbare Leistungen über die verschiedenen Versuche abgestrahlt werden.
Die EMF-Exposition des Mobiltelefons [17] führte schlussendlich zu einer starken Reduktion der Zellvitalität auf 45,3 % bei Kontrollen, wobei die sRD und nRD (wohl MHR) die Zellvitalität in einem Abstand von 100 mm steigern konnten. Welche Seite des MHR auf die Zellkulturen gerichtet waren, wurde leider nicht beschrieben. Wo das Mobiltelefon in Bezug auf die Zellkulturen positioniert wurde, blieb ebenfalls unklar. Folgende Ergebnisse wurden angegeben:
| Bedingung | Zellvitalität [%] | Reduktion der Zellvitalität [%] |
|---|---|---|
| Kontrollgruppe (keine Strahlung) | 100 ± 0 | – |
| Mobilfunkstrahlung ohne Schutz | 45.3 ± 5.3 | 54.7 ± 5.3 |
| Mobilfunkstrahlung mit Standard-RD (sRD) | 79.83 ± 2.16 | 20.17 ± 2.16 |
| Mobilfunkstrahlung mit neuem RD (nRD) | 86.99 ± 1.86 | 13.01 ± 1.86 |
Zu beachten ist, daß die Ergebnisse in den einzelnen Schalen bei MHR-Einsatz zwar im Schnitt besser waren, jedoch eine sehr starke Spreizung der Einzelergebnisse bestand. Ggf. wurde auch hier das Mobiltelefon direkt auf bzw. über der Zellkultur positioniert, was ich ja bereits kritisch (bzw. ungünstig) in Bezug auf die Experimente in 2024 anmerkte.
Die EMF-Exposition einer DECT-Basisstation [9] führte ebenfalls zu einer starken Reduktion der Zellvitalität auf 45,3 % (± 5,3 %), irritierenderweise der gleiche Werte, wie bei dem DECT-Telefon in [17]. Weiterhin gab es in der mikroskopischen Analyse deutliche zelluläre Schäden und morphologische Veränderungen, darunter: Vermehrte Vakuolenbildung (Zellstress), Zellabrundung und Ablösung vom Substrat, Anzeichen für Apoptose oder Nekrose. Hier die komprimierten Ergebnisse:
| Bedingung | Zellvitalität (%) | Vergleich zur EMF-Exposition (%) |
|---|---|---|
| Kontrollgruppe (keine Strahlung) | 100 | – |
| EMF-Exposition (ohne Schutz) | 45,3 % ± 5,3 | – |
| Mit Standard-Resonanzgeräten (sRD) | 68–71 | +20,17 bis 23,7 % |
| Mit neuen Resonanzgeräten (nRD) | 85–88 | +11,68 bis 14,31 % |
| Gekreuzte Anordnung der nRD | 95 | Fast vollständige Wiederherstellung |

Die Einzelwerte der einzelnen Zellkulturschalen der 2020er Studie als Grafik [12]
Interessanterweise fällt die Strahlungswirkung ohne Schutz sowie die Schutzwirkung in den Zellschalen sehr homogen aus – komplett anders als in der Studie aus 2024 [12]. Der Grund mag sein, dass die DECT-Basisstation in 2020 mit Abstand neben den Zellkulturen „sendete“ [9] und in 2024 ein Smartphone direkt auf den Zellkulturen lag [12]. Letzteres ist jedoch ein Entfernungsbereich, in dem die Feld-Charakteristika von HF-Modulation (GSM, LTE, etc.) sehr komplex, extrem „un-deterministisch“ sein können. Damit meine ich, daß es „alle paar Millimeter bzw. cm weiter“ deutlich andere Feldcharacteristiken und Intensitäten gibt bzw. geben kann. Über ähnliche komplexe antennenspezifische Feld-Characteristika berichtete ich schon im Zusammenhang mit Mobilfunkmasten.
In jedem Fall ist klar, daß die Geräte von König „etwas machen“, wobei die wirkung des MHR-Rohrs im Versuch ggf. etwas „Praxis-Irrelevant“ ist. Kaum jemand wird mit einem MHR-Rohr auf sich oder das Mobiltelefon beim Telefonieren „peilen“ ;-). Die SHLS-Versuche mit der DECT-Basisstation sind jedenfalls sehr erfreulich, soweit ich dieses richtig interpretiere.
Das Problem der (einzelnen) Studien ist aus meiner Sicht, daß es teils sehr schwer für mich war, herauszulesen, welche MHR oder SHLS in welchem Kontext wie eingesetzt wurden. Erst die zusammenfassende Grafik aus der 2024er Studie [12] weiter oben brachte viel Licht in das vorherige Dunkel. Insofern gehe ich davon aus, daß 2017 [8] und 2020 [9] die DECT-Basisstation mittels SHLS-Strom (-> analog des 3er oder 5er Steckdosenleisten-SHLS) betrieben wurde und teils noch MHR ergänzt wurden. Die 2024er Studie bezog sich dann auf ein unabhängiges SHLS, ähnlich des Mobile-Phone SHLS, wobei es hier wohl eher darum ging richtungs-spezifische Wirkungseffekte isoliert zu untersuchen.
Ergebnisse des LED-Experiments bei Dartsch (2020)
In der 2020’er Studie bei Dartsch [9] gab es noch ein weiteres „Leckerli“: Es wurde ein ungewöhnliches Experiment mit LED-Licht durchgeführt, um zu testen, ob ein zusätzliches Strahlungselement (in diesem Fall eine LED-Lampe) die biologischen Auswirkungen der DECT-Strahlung auf Zellvitalität verändern kann.
Im vorherigen Abschnitt ist der Aufbau als schematische Darstellung zu sehen. Der Aufbau ist folgender: Eine DECT-Basisstation als primäre elektromagnetische Strahlungsquelle. Eine LED-Spotlampe wurde über ein SHLS am 230V Netz betrieben (vergl. SHLS-Steckdosenleisten). Die LED-Lampe befand sich direkt über der Zellkultur, während die DECT-Strahlung von der Seite einwirkte. Folgende Messungen ergaben sich:
| Bedingung | Zellvitalität (%) | Veränderung zur Kontrolle (%) |
|---|---|---|
| Kontrolle (ohne Strahlung) | 100 % | – |
| DECT-Exposition (ohne Schutz) | 45 % | -55 % |
| DECT + LED (über SHLS betrieben) | 83 % | -17 % (statt -55 %) |
Der Aufbau mit SHLS führte also zu einer deutlichen Reduktion der EMF-bedingten Zellschädigung. Leider wurden jedoch keine Kontrolle
- mit LED aber ohne SHLS
- mit SHLS nur an LED
- mit SHLS nur an DECT
durchgeführt. Es ist nicht auszuschließen, das die Nähe des SHLS die Zellvitaliät beeinflusste, die LED jedoch nicht, oder daß die Wirkung durch das SHLS am DECT-Telefon bewirkt wurde und die LED letztendlich irrelevant war. Alternativ könnte der Blaulichtanteil der LED, als Zellstressor bekannt, über Aktivierung von Nrf2 eine Art „Hormesis-Effekt“ erzeugen, also eine adaptive Schutzreaktion durch leichte Stressinduktion, welche die antioxidativen Systeme der Zellkulturen „hochreguiert“. Dieses oder andere Effekte, könn(t)en ebenfalls für eine (kurzfristige, nicht nachhaltige!) Vitalitätssteigerung verantwortlich sein.
Die verschwundenen 6 µg (Versuche mit hochpräziser Deltawaage)

Messung (Vollkamer) mit Rollenwaage auf das 2016 ein (aktuell) älteres MHR-Rohr gerichtet wurde und was 6 µg Einbrüche beim gemessenen Gewicht erzeugte (Bild aus [16])
Mehrfach berichtet König [6][9][14][16] über Deltawaagen-Messungen bei Dr. Volkamer ab Herbst 2015. König fand in Volkamers Labor eine hochpräzise DeltaWaage mit zwei identischen Rollendetektoren vor. Diese konnte mit einem computergestützten Analog-Digital-Wandler auf 0,1 millionstel Gramm (0,1 μg) genaue Massen- bzw. Gewichtsveränderungen erfassen. König berichtet [6]:
„Nachdem Volkamer und ich nicht wirklich damit rechneten, dass es zu Effekten kommen würde, war bereits zu unser beider Überraschung die erste Messung erfolgreich: Bei der üblichen senkrechten Peilung eines MHR auf einen der zwei Rolldetektoren wurde ein minimaler Unterschied als Delta-, also Differenzwert zwischen beiden Detektoren aufgezeichnet. Um alle noch so undenkbaren Einflussfaktoren – auch mentaler oder telepathischer Art – im Nahfeld auszuschließen, wurden die minimalen Gewichtsfluktuationen um rund sechs Mikrogramm wiederholt in meiner Abwesenheit registriert (siehe nebenstehende Abb.).“
König berichtet weiter [16]:
„Sieht man sich die Grafik genau an, dann fällt einem der erste Einbruch vor der zweiten Senke „A“ auf. Hier erinnere ich mich daran, dass Volkamer eine nahestehende Lampe ausschaltete!“ sowie „Nicht als unerheblich hervorzuheben seien ebenso die ähnlichen, marginalen Masseschwankungen ab mindestens 2 µ Gramm in einem Vorversuch (ich war dabei), welche möglicherweise den Einfluss der vagabundierenden Hochfrequenz-Wechselfelder (Mobilfunk usw.) auf den Rolldetektor sein können.“
Die Frage ist, was die MHR-Rohre machen, daß eine Waage solch eine abrupte, wenn auch kleine, Masseveränderung registriert? König verweist dabei [9] auch auf die bekannte „Einstein-Formel“ E = m * c². Wenn dieser Theorie nach Lichtgeschwindigkeit sich nicht lokal ändert, dann müsste sich die Äquivalentenergie E ändern. Aber wo „verpufft die Energie hin“ und warum hat auch das Ausschalten der Lampe einen ähnlichen Effekt produziert?
Da das Ausschalten der Lampe schon ca. 5 µg „brachte“, ist klar, daß auch subtile EM-Felder (Stromfluss), vielleicht wegfallende Infrarot- (-> Wärme) oder Photonenemissionen (-> Strahlungsdruck) unmittelbare Effekte auf die Waage im Nahfeld haben. Die Auswirkungen von Lichtphotonen scheinen zwar interessant, weil diese, der Theorie nach, zwar keine Ruhemasse, jedoch einen Impuls besitzen (-> Vergl. auch Solarsegel im Weltraum), aber die Lichtintensität pro m² in einem Labor bzw. einer Lampe gibt das überschlagsmäßig „nicht her“. König merkt noch an
„Bitte denken Sie nicht nur an Pegel/Intensitäten und Frequenzen (neuronal), denn jedes Elektron hat eine Masse, Spin und erzeugt eine einzelne Kraft (s. Lehrbuchphysik).„
Verändern also König MHR die Elektronen-Spins als „Fernwirkung“ und wirken z.B. über den Gravo-Magnetismus? Oder beeinflussen diese eine andere uns unbekannte Feldkomponente? Oder ist die Erklärung ggf. noch viel banaler? Ich denke ja! [24]:
- e = m * c² hat durchaus Probleme. Die Gleichung bietet keinen Mechanismus, keine Erklärung dafür, wie Masse zu Energie wird oder wie Energie Trägheit besitzt. Natürlich wird dies auf anderer Ebene ergänzt – aber dadurch wird alles nicht einfacher.
- Eventuell funktioniert das Universum auch auf der Grundlage von Phase, Druck, Impedanz und oszillatorischer Struktur – nicht auf der Grundlage von Raum-Zeit-Metaphern.
- Meint: Masse wäre dann keine Substanz, sondern ein Symptom. Genauer gesagt die Masse wäre dann der physikalische Ausdruck einer Impedanzfehlanpassung zwischen einem Objekt und dem es umgebenden Wellenfeld, in das es eingetaucht ist.
Die nächsten Abschnitte sind nur für Freunde des Blog (eingeloggt) sichtbar.
Das bedeutet, dass Gewicht nicht das Ergebnis der Anziehungskraft einer entfernten Masse wäre! Es wäre dann das Ergebnis der Kompression durch ein strukturiertes Wellenfeld. Masse wird in dieser Interpretation zu einem Widerstandskoeffizienten. Es ist keine Energiequelle, kein „Behälter“ für Potenzial, sondern eine emergente Eigenschaft, die beschreibt, wie gut oder schlecht ein Objekt mit dem Rhythmus des Mediums, das es umgibt, synchronisiert ist. Und, mal ganz „verwegen“ gesponnen, könnte das die Erklärung sein, welche zu dem passt, was die König-Rohre machen!
Warum könn(t)en König „Rohre“ effektiv wirken?

4-Wege Umhänge SHLS mit induktiver Kopplung über das „Antennenkabel“ in das Körperumfeld für den individuellen Schutz im Großstadt-Jungle und auswärts. Foto: H.C.
König versucht in seinen Artikeln [1-7][14][16] und Studien [9][12] immer wieder auch auf die Frage einzugehen, warum seine Geräte wirken könnten. Er versucht dies primär in Zusammenhang mit physikalischen Grundgesetzen die wir „aus der Studiumsphysik“ kennen. Allerdings scheinen diese nur einen Teil der „Gleichung“ auszumachen. Insofern verweist König oft auf die Longitudinal- bzw. Skalar-Wellen von Meyl, welche ich in Teil 4 noch vorstellen werde.
Wenn ich jedoch mal nach meinem „Bauchgefühl gehe“, das hat mir oft geholfen und unterscheidet uns Menschen von Algorithmen, dann machen MHR & SHLS ggf. drei Dinge „richtig“:
- Absorption von biologisch negativ wirkenden Komponenten (u.a. VNG, vertikales Omega & Rho, vertikales Alpha & Beta) und Umsetzung in Wärme bzw. Transmutation „in andere biologische Gutstrahlung“
- ein breites Absorptionsspektrum (-> Frequenz- und/oder Schwingsechnisch gedacht) von „Schlechtstrahlung“ durch den komplexen inneren Aufbau der Rohre, sowie
- verschiedenste „Ankopplungsarten“, die jeweils praktikabel zweckoptimiert sind.
Die Absorption und Umsetzung in Wärme, zumindest durch die SHLS, ist für mich unbestritten. Stellt euch mit einem 4-Kanal Umhänge SHLS vor eine 600W Haushalts-Mikrowelle – bitte mit etwas Entfernung und schaltet die Mikrowelle an, „wenn ihr es wissen wollt“. Allerdings kann es sein, das ihr dann ein neues SHLS braucht 😉
Warum so dramatisch? – die Mikrowelle doch „offiziell“ gut abgeschirmt? Naja, transversal „ein bisschen“, denn da sind immer noch 50W/m² Leckstrahlung zulässig, in der Realität ca. 1-5 W/m², Zwar reicht letzteres reicht nicht für eine dramatische „thermische“ Erwärmung – aber gut ist das auf keinen Fall. Das Problem ist jedoch folgendes: Bei einer 600 W Mikrowelle (-> ca. 1000 W Eingangsleistung) sind, ähnliche wie beim Wellensumpf, wohl bis ca. 100-150W „un-bilanziert“, also „weg“. Keiner weiß wo & genaues habe ich nicht gefunden. Ist ja auch blöde, wenn was passiert, was man mit Standard-Physik nicht mehr erklären kann. Deswegen wird dies in der Regel als „Messfehler“ deklariert und „unter den Teppich gekehrt“.
Da die HF-Keule der Küchen-Mikrowelle ähnlich der einer HF-Sendeantenne funktioniert, bzw. eine ist, stellt sich natürlich die Frage, „wohin“ geht der „Rest“ und in welcher Form. Das war ja auch die zentrale Frage von König in Bezug auf Prof. Jansen. Für mich ist klar: Daraus wird irgend eine longitudinale, skalare oder torsionale Komponente – und eher keine gute. Ich schätze: Ganz viel VNG & Co.!
Meine Vermutung ist also, daß Königs Geräte die VNG Schadstrahlung in a) Wärme umsetzten sowie nach b) HNG und anderen biologisch positiv wirkenden Komponenten transmutieren / umwandeln, wobei „netto-energetisch“ natürlich alles im Gleichgewicht bleibt – Energie kann ja nicht vernichtet, sondern nur umgewandelt oder umgeleitet werden.
„Klassischer gedacht“: Den Wellensumpf weiter gesponnen
Der klassische (2D) Wellensumpf der HF-Technik soll, soweit ich es verstehe, ungünstige Reflexionen, stehende Wellen bzw. Longitudinalwellen im Leiter unterdrücken (bzw. „versumpfen“ lassen). In diesem Fall würde die Energie jedoch als Wärme oder messbare Emission erscheinen. Wenn nach Aussage von König jedoch ca. 20% der Primärenergie nicht mehr als messbare Reflexion oder (Wärme-) Abstrahlung erscheinen, sondern als „verloren gelten“ [in Verweis auf 19]– müssten diese „wo anders sein“, um dem Energieerhaltungssatzes Genüge zu tun. Und daß dieses „Gesetz“ gilt, halte ich für fundamental gegeben, denn nichts im Universum wird einfach „weg“ sein, sondern höchstens „woanders“ oder in einer anderen Form (-> Skalarwellen, etc), wie schon in der vorherigen Sektion angesprochen.
Wer, ganz klassisch, mit Maxwellschen Gleichungen zu einem bestimmten Zeitpunkt X eine longitudinale Wellenkomponente im Leiter berechnen will, wenn geeignete Randbedingungen und Materialeigenschaften gegeben sind, kann das wie nachfolgend Beschrieben machen. Allerdings ist longitudinale Komponente (im Leiter) nicht stationär und löscht sich in Summe über die Zeit, u.a. durch destruktive Interferenz, „selber“ aus. Die Lösung für ein longitudinales Feld Ez (in V/m) zu einem Zeitpunkt t an der räumlichen Koordinate z in einem leitenden Medium könnte ggf. folgend bestimmt werden:
Ez(z,t) = E0 e-αz e-j(βz – ωt)
Anm: Ez = longitudinale elektrische Feldkomponente, α = Dämpfungskoeffizient, β = Wellenzahl, ω = Kreisfrequenz
Bei der Ausrichtung des MHR Rohres auf eine Stromleitung könnte es also auch im klassischen Sinne zu lokal-longitudinalen Feld-Interaktionen im Nahfeld kommen, welche (spekulativ) in Bezug auf destruktive Interferenzen (und mehr) in dem virtuell (über die „Luft-Strecke“) an das MHR „angekoppelten“ Stromleiter wirken könnten. Ich denke nicht, dass dies die Wirkung der MHR erklärt, jedoch ist es ein Denkansatz im klassischen Sinne der E-Technik, für die Menschen, die meinem VNG/HNG-Ansatz und der anderen Sicht auf die Gravitation nicht folgen können oder wollen.
Interessante Anekdote: Der Tarnkappentechnik-Wellensumpf!?
Spannenderweise gibt es noch eine andere Art der Anwendung des Wellensumpf-Konzeptes in der Art der MHR/SHLS: Die Tarnkappentechnik, z.B. bei Beschichtungen im Flugzeug- aber auch U-Bootbau. Auf Wikipedia steht zu einer Entwicklung, „Projekt Schornsteinfeger“ aus 1944 [20], für ein Radar-resistentes U-Boot Periskop:
„Das Material dieses Überzugs … bestand aus einer Aufeinanderfolge leitfähiger Schichten, deren Leitfähigkeit von außen nach innen bis zur Metallwand des Schnorchels ansteigt. Die einzelnen Schichten werden durch dielektrische Stützschichten mit sehr niedriger Dielektrizitätskonstante voneinander getrennt. Eine auftreffende Radarwelle wird, je tiefer sie eindringt, von dieser Haut mehr und mehr absorbiert. Die Energie der Welle wird im Idealfall vollständig in Wärme umgewandelt. Durch den mehrlagigen Aufbau ist die Wirkung des Jaumann-Absorbers weniger abhängig von Frequenz und Einfallswinkel.“
Der Artikel merkt dann noch an: „Ein ähnliches Wirkprinzip wie beim Aufbau des Überzugs findet sich im Wellensumpf.“. Ein wichtiges Material dabei war sicher „Kohlestaub“, u.a. in RAM (Radar Absorbierendes Material) aus 1936 verwendet. Hervorgehoben werden allgemein in Bezug auf RAM noch besondere Geometrien, welche das Signal zerstreuen bzw. ablenken sollen. Typische Materialien für RAMs sind zudem:
- a) Magnetische Absorber, die magnetische Verluste erzeugen, um Radarwellen zu absorbieren: Ferrite, metallische Nanopartikel (z. B. Eisen, Kobalt, Nickel), Metalllegierungen (Permalloy, Mu-Metall).
- b) Dielektrische Absorber, welche dielektrische Verluste zur Absorption nutzen: Kohlenstoff-basierte Materialien, Polymere mit leitfähigen Partikeln, Metalloxide
- c) Metamaterialien und Nanostrukturen
Dabei sind dann, je nach Verwendungszweck, elektrische und dielektrische Schichtstrukturen im Bereich der jeweilig zu absorbierenden Wellenlängen relevant. Da Königs Rohre kein Radar absorbieren, sondern andere Modulations- und Frequenzbereiche , ggf. auch andere physikalische Felder, „bearbeiten“ oder auslöschen sollen, können die RAM-Technologien als grobe Analogie für eine „invertierte“ Konstruktion eines Absorbers dienen. Wichtig ist bei den MHRs ja, daß eine „Fernwirkung“ durch Peilung bzw. Einkopplung in bestehende Felder produziert wird, was diese absorbieren sollen. König kehrt die Funktion der RAM also potentiell um – wenn meine Interpretation korrekt ist.
Allerdings ist hier zu beachten, daß klassische (transversale) niederfrequente und auch keine hochfrequenten (Mikro-) Wellen„längen“ in die 5 cm (oder weniger) durchmessenden Rohre „passen“. Insofern können MHR keine klassischen transversalen Felder in der Umgebung absorbieren, was ja auch zu dem Messergebnissen bei Dartsch passt, sondern nur „etwas anderes“. Dieses Andere kann aus meiner Sicht mit hoher Wahrscheinlichkeit etwas longitudinales, skalares oder torsionales (wie z.B. eine [Stoß-] Welle) sein, denn das „passt“ auch in die Öffnung der Rohre 😉
Warum funktionieren die verschiedenen „Kopplungsmethoden“ von König (u.a. Transversal, Längs, Kapazitiv, ggf. Induktiv) scheinbar alle?
Das Interessante oder Verwirrende von Königs Ansätzen ist, daß seine Rohrsysteme in verschiedenen „Ankopplungsweisen“ funktionieren, welche immer ein grundlegendes physikalische Prinzip applizieren:
- Mal ein MHR-Rohr im 90 Grad Winkel zum Kabel, also auf das Kabel peilend, optimal im „Fächer“ mit mehreren Rohren.
- Mal per Stromleitungen längs durch die Rohre, u.a. bei den SHLS-Steckdosenleisten.
- Mal durch kapazitive Ankopplung von SHLS oder MHR (Auto). Das meint, daß die Rohre wie ein Kondensator leitend an die Gerätemasse und die Betriebsspannung angeschlossen werden.
- Mal mittels Leiterschleife (oder Antenne), um das zu schützende Objekt (ohne direkten Kontakt), u.a. beim 4-Wege Umhänge SHLS, wobei die Enden der „Antenne“ in SHLS Rohren eintauchen und dort enden (-> kapazitive Ankopplung).
Allerdings verstehe ich nicht, warum gerade die kapazitive Ankopplung (3.) eines SHLS „auch so gut wirkt“:
- Hier wird das SHLS oder MHR ähnlich eines Plattenkondensators an die Elektrik des technischen Gerätes angeschlossen.
- Ströme bzw. „Elektronen“ fließen hier theoretisch nur im Sinne der dreckigen Elektrizität und der Verschiebeströme.
- Im Kontrast zur 1. & 2., wo der „Strom am oder durch das“ MHR bzw. SHLS „fließt“, müssten hier nun andere räumliche Effekte oder eben ganz andere physikalische Effekte wirken!
Bei Ankopplung durch Leiterschleife bzw. Antenne (4.) scheint ein Effekt im Raum zu entstehen, der ähnlich wie die peilende Plus-Seite eines MHR wirkt, welches ja generell einen richtungsspezifischen „Ferneffekt“ produziert. Man könnte vermuten, daß bei allen MHR/SHLS-Anwendungen irgend eine Art von räumlichem „Umfeld„-Effekt (-> Welle, Druck, etc,) durch Interaktion mit den MHR/SHLS entsteht, der entweder
- eine richtungsspezifische Wirkung (oder Ausdehnung) in Bezug auf das Feld eines Leiters oder einer Emissionsquelle hat (MHR, Punkt 1.),
- auf die Leiter bzw. dessen Feld wirkt, welche das Gerät physisch durchfließen (SHLS-Steckdose, Punkt 2.)
- sich „physisch“ in das Feld des angeschlossenen Gerätes über Masse und Betriebsspannung einkoppelt (USB-SHLS, Mobile Phone SHLS, PKW-MHR, Punkt 3.)
- sich „räumlich-geometrisch“ in das Feld des umgebenden Objektes (4-Kanal-Umhänge-SHLS) über „Antennendrähte“ einkoppelt bzw. darauf Effekte hat.
Zudem scheint es, daß „Funk-Emissionen“, also Felder bzw. Sender, die mit MHR/SHLS „aufbereitetem Strom“ betrieben bzw. gespeist werden, eine Fernwirkung haben, die sich durch Empfang und (analoge) Verstärkung auch beim Empfänger manifestiert.
Produktübersicht über die König-MHR & SHLS
In diesem Abschnitt habe ich die Produktübersicht von König, die er hier angegeben hat, in einer Tabelle aufbereitet. Ich weise darauf hin, daß ich selber hier keine Produkteigenschaften zusichere und die Zusammenfassung als rein informativ zu verstehen ist.
| Produkt | Beschreibung | Weitere Erklärungen | Preis (€, Netto, ohne MwSt.) |
|---|---|---|---|
| Kleines MHR | Für Wohnflächen bis ca. 30–40 m². | Nach König geeignet für kleinere Wohnbereiche. | 390€ |
| Mittleres MHR | Für Wohnflächen bis ca. 60 m². | Gleiche Grundtechnologie wie das kleine MHR, jedoch für etwas größere Anwendungsbereiche. | 490€ |
| H‑PLUS‑MHR | Speziell entwickeltes Mehrkammer Hohlleiter-Rohrsystem für EHS/elektrohypersensible Anwendungen bzw. 4G/5G, geeignet für Wohnflächen bis ca. 200 m². | Optimiert für sensible Anwendungen; abweichende Einsatzbedingungen für erhöhte elektromagnetische Herausforderungen. H.C.: Dies ist das MHR für Standardfälle. | 690€ |
| Doppel‑H‑PLUS‑MHR | Scy-Sat-MHR-Paar zur Neutralisierung von Satelliten-EMF-Impact über Ionosphären-Wechselwirkungen. | Speziell für den Einsatz in Bereichen mit Satelliten-EMF; bereits an mindestens 15 Standorten weltweit aktiv. | Auf Anfrage |
| Multi‑H‑PLUS‑MHR | Mehrkammer Hohlleiter-Rohrsystem in Multi‑Konfiguration, konzipiert für größere oder komplexere EMF-Szenarien. | Modulare Erweiterung; flexibel einsetzbar in großflächigen Anwendungen; optimiert für Umgebungen mit hoher EMF-Belastung. H.C.: Dies ist mein Lieblings-Universal-MHR- unfassbar Stark – gut für Großverbraucher wie Saunen oder um ungeliebte Mobilfunk-Masten zu entschärfen. | 1990,- |
| PKW‑MHR | Dosenartige Vorrichtung zur Neutralisierung von EMF in Fahrzeugen über kapazitive Einkopplung an 12‑Volt-Anschlüsse (Zigarettenanzünder). | Speziell für PKW, E‑Autos, Camper etc.; Anschluss über Cinch-Kabel in das DC-/Gleichstromnetz. H.C.: Aus meiner Sicht unverzichtbar für ein Auto, Lieferwagen oder Camper | 590€ |
| 3‑er-Steckerleisten SHLS | Schicht‑Hohl‑Leiter-System in Form einer 3‑fachen Steckerleiste, ausgelegt für kleinere Strahlen-Hotspots (z. B. WLAN-Router, DECT-Telefone, PCs, Lampen) bei bis ca. 3,5 kW Anschlussleistung. | Kombination aus SCHUKO-Steckerleiste und SHLS‑Rohr; leitet Wechselfeldanteile über Lenz’sche Regel sowie Skin-/Casimier‑Effekt ab. | 590€ |
| 5‑er-Steckerleisten SHLS | Schicht‑Hohl‑Leiter-System in Form einer 5‑fachen Steckerleiste, geeignet für größere oder mehrere bzw. potentere Strahlen-Hotspots (z. B. medizinische Geräte) bei bis ca. 3,5 kW Anschlussleistung. | Technisch vergleichbar mit dem 3er SHLS, jedoch ausgelegt auf höhere Leistungsanforderungen; besonders geeignet für EHS-Menschen. H.C.: Nutze ich für PC/IT-Technik und sensitives. | 690€ |
| Portables, normales Umhänge‑SHLS | Miniaturisiertes Schicht‑Hohl‑Leiter-System für den Alltag bzw. Reisen, das diagonal über die Schulter oder als Schlaf‑Esmog‑Schutz getragen werden kann. | Vorsorglich für normal elektrosensible Personen; flexibel einsetzbar. | 390€ |
| Portables, 4‑kanaliges Umhänge‑SHLS | Miniaturisiertes/größeres SHLS mit 4‑adrigem Kabel für hoch elektrosensible Personen, das vielseitig tragbar ist. | Integriert Phasendrehungseffekte; bietet verstärkten Schutz; optimal für gesteigerte Anforderungen. H.C.: Sehr gut in Bezug auf mobilen EMF-Schutz. | 690€ |
| USB‑A‑SHLS | Rundliches, großes SHLS-Gerät (mit USB‑C per Adapter) zur Schaffung einer „Wirkblase“ am Arbeitsplatz, beispielsweise um den Laptop herum. | Galvanisch‑elektrische Verbindung reduziert elektro‑stressende Wechselfeldanteile; besonders effektiv in Kombination mit dem 4‑kanaligen Umhänge‑SHLS. H.C.: Perfekt an PC/Notebook oder auch mit Adapter am Smartphone! | 490€ |
| Mobile‑Phone‑SHLS | Kompaktes SHLS-Gerät zur Anwendung am Mobiltelefon; robustes Gehäuse, etwas größer als aufklebbare Chips. | Nach wissenschaftlichen Zelltests als hoch effektiv bewertet; optimiert für den mobilen Einsatz. H.C.: Etwas „klobig“. Ich nutze dafür u.a. das USB-SHLS mit Adapter. | 390€ |
Weitere Angaben zu den Produkten nach König auf Basis theoretischer Überlegungen meinerseits [16]:
- PKW-/LKW-MHR-Dosen funktionieren fast identisch wie die SHLS und koppeln kapazitiv mit zwei Drahtpolen in zwei getrennten, seriell angeordneten Dosen-Kammern ein, was besonders effektiv bei den inzwischen schon kritisch betrachteten E-Autos mit viel Bordelektronik samt Batterien Abhilfe schafft.
- MHRs wirken grundsätzlich einkoppelnd über eine Peilung zum Sender wie ein Kabel oder dergleichen via Transportmedium = Magnetfeld. Ausgehend z.B. von einem Sicherungskasten usw. (s. zentrale Stromversorgungspunkte im Haus mit FI-Schalter oder Zähler) wechselwirkt das MHR über die Kabelstränge der 50 Hz-Versorgung.
- SHLS-Steckerleisten wirkneutralisieren Mikrowellenherd, DECT-Telefon, WLAN-Router, weil die Elektronen durch das o.g. CU-Rohr-Herzstück durchgeleitet werden und in dem geschichteten Hohlleiter wechselwirken (s. Wellensumpf und Wechselfelder dort).
- Antennendraht-/Umhänge-SHLS: Einkopplung und Wechselwirkung via Antennen-Drahtstück in das (diffuse) Umgebungs(wechsel)feld.
- 4-Kanal Umhänge SHLS: Ein 4-Kammer-SHLS mit vier Drähten multipliziert durch den parallel geschalteten Kondensatoreffekt via Antennenkabel-Stränge den Wirk-Benefit.
Wichtig: Die Preise bei König sind Nettopreise ohne MwSt. Mengenrabatte und Paketpreise sind bei König selber anzufragen und es kann Sinn machen das, was man ggf. braucht, „in einem Rutsch“ direkt bei König zu kaufen. König stellt alles selber her, so daß bei Abnahme größerer Stückzahlen ggf. Wartezeiten entstehen können. Durch die Eigenherstellung und das „Herzblut“ seitens des Erfinders ist aus meiner Sicht das nötige hohe Qualitätsniveau der Produkte (in jedem Fall) gegeben.
Eigene & andere Erfahrungen + Kurioses

PKW-MHR im Crafter. Eine Hülle gibt es noch dazu. Macht definitiv was! Foto: H.C.
Wo soll ich anfangen? Die von König namentlich genannten Referenzkunden wie Mediziner, teils Kliniken, Firmen, Biomärkte werden sicherlich kaum jemanden überzeugen, da so etwas in ähnlicher Art auch von anderen Anbietern angegeben wird. Die Berichte von König zeigen jedoch auch Bilder von den konkreten Installationen in den Gebäuden selber [1][4] – was man in dieser Art sehr selten sieht!
Meine eigene „Reise“ in die „königlichen Welten“ begann so: Nach dem ich mich über König’s Technologien informierte, u.a. im Nexus-Magazin, gab es bei meinem Gesundheits-Interview im Nexus-Magazin auch ein gutes Gespräch mit Daniel Wagner, dem Chef-Redakteur. Er erwähnte, dass das Geistreich am Teich Treffen des Nexus-Magazin 2023 in direkter Nähe eines Mobilfunkmastens stattfand. Nicht 500 Meter, sondern deutlich weniger. Das Ganze war wohl so „übel“, dass viele Teilnehmer, insbesondere die Elektrosensitiven, allesamt abreisen wollten bzw. aufgrund von Symptomen nicht länger bleiben konnten. Da Florian König vor Ort war, positionierte dieser seine MHR-Rohre an der Stromzufuhr für den Sendemasten bzw. peilte auf die Antenne – genau wusste es Daniel nicht mehr. Jedenfalls entspannte sich die Lage wohl deutlich und keiner reiste ab.
Dann gab es aber doch wieder Probleme und Beschwerden. Der Grund: König entfernte seine MHR ohne jemanden zu informieren, um einen Placebo-Effekt auszuschießen. Wieder wollten einige Menschen abreisen – bis er nun diese MHR endgültig an Ort und stelle ließ und alle soweit zufrieden waren.
In einem Nexus-Interview [6] wurde König folgend in Bezug auf Elektrosensible zitiert: „Oft genug habe ich von diesem Personenkreis Sätze gehört wie „Der Druck auf der Brust ist weg“, wenn sie die Effekte meiner MHR-/SHLS-Rohre spontan spürten“. Ich selber habe Druck im Kopf, speziell wenn zu viel WLAN in der Umgebung sind. Andere Berichte von König sind z.B. über die Swiss Mountain Clinic [4], wo in Raum & Zeit steht:
„Im Referenzprojekt Swiss Mountain Clinic wurde das komplette Klinikgebäude samt Areal mit 14 HPLUS-MHR versorgt. Hinzu kamen einige 5er-Steckerleisten an E-Geräte-Hotspots sowie portable SHLS. Warum waren so viele Rohre nötig? Anfang Dezember 2022 vernahm ich bei einem Vorab-Besuch in der Klinik, dass das Hauptgebäude aus den 1970er Jahren mit Doppel-T-Stahlverstrebungen in den Aufenthaltsräumen und Treppenhäusern versehen war. Zudem war die Rede von entmagnetisierten Stahlbetonwänden.“
Meine eigenen Erfahrungen sind insbesondere mit dem PKW-MHR sehr gut. In meinem Fahrzeug ist die Batterie unter dem Fahrer-Fußraum eingebaut. Die Stromkabel gehen also direkt da entlang, wo teils die Füße stehen. Die Lichtmaschine ist auch nicht weit weg und die messbaren Emissionen sind vergleichsweise sehr hoch. Deswegen „spinnt“ mein rechtes Bein oft ein bisschen, das Gefühl ist schwer zu beschrieben. Mit dem MHR habe ich das Problem jedoch gar nicht, auch nicht nach 1000 Km. Zudem habe ich auch keinen starken Drang nach Kohlenhydraten während längerer Fahrten mehr – was mich extrem (positiv) überrascht hat. Immer, wenn dann mein Bein in Richtung Lichtmaschine „doch mal“ spinnt, war es bis jetzt so, dass das MHR nicht mehr eingekoppelt war, da irgendwie der 12V Stecker keinen richtigen Kontakt mehr hatte und die Kontroll-LED nicht mehr leuchtete. Insofern hatte ich auch meine „randomisierten Kontrollen“ 😉 Das PKW-MHR wird geteilt, inklusive der gleichen Erfahrungen mit dem kurierten „spinnen“ der Beine! Zudem habe ich das latente Gefühl, das auch eine 1000 Km Tour im Winter deutlich weniger erschöpfend ist.
Interessant ist auch, das ein einzelnes H-Plus MHR (Minus auf den Boden) wohl im Umkreis einiger Meter radiästhetisch erfassbare „Erdstrahlen“ (Wasseradern, etc) ausblendet, „aufsaugt“ bzw. kompensiert. König bewirbt solch eine Eigenschaft nicht und meine Einschätzung sollte als genau das beurteilt werden.
Eine andere Erfahrung betrifft das USB-SHLS: Meine Partnerin hat ein Notebook + externe Maus. Wenn sie die Maus anfasst und bedient, „bitzelt“ es ihr immer in der Hand. Nach Anschluss des USB-SHLS am Notebook war das Problem verschwunden. Auch hier hatte ich ein paar „randomisierte Tests“ gemacht in dem ich das SHLS insgeheim absteckte und dann mit „das Ding funktioniert doch nicht“ konfrontiert wurde. Nach dem Einstecken war alles wieder gut. Ein Versuch mit einer 5er SHLS-Steckdosenleiste ergab eine vergleichbare Wirkung. Zudem ist zu bedenken, dass das USB-SHLS auch auf den Monitor wirkt, wenn man es dort z.B. über die USB-Anschluss anstöpselt. Letztendlich schießen die LED’s aus dem Monitor mit Elektronen (Photonen) auf uns.
Am Haupt-Sicherungskasten haben wir nun ein H+MHR. Der Effekt ist nicht so eindeutig wahrnehmbar wie von den anderen Geräten. Beim Geistreich am Teich stand ich jedoch, in einer Unwetterpause bei einem Vortrag von König, direkt neben einer Leuchtstoffröhre und bekam einen „dicken Kopf“. Als König sein MHR senkrecht auf die Leuchtstoff-Röhre peilte, war der „Druck im Kopf“ mit Zeitverzögerung von 5-10 Sekunden „weg“. Das „Spiel“ wiederholten wir 2-3 mal: Druck da, Druck weg, Druck da, Druck weg... -> Wahnsinn! -> Danach war ich überzeugt – bis heute! 🙂

Anwendungsbeispiele des 4-Kanal Umhänge-SHLS
Das 4-Kanal Umhänge SHLS habe ich nie gemerkt, bis ich es mal „nicht dabei“ hatte. Man merkt eben, wenn es einem schlecht geht – nicht wenn alles gut ist. Wenn ich nun unterwegs bin, ist es immer dabei, da heute überall Funkkrams ist: WLAN in Häusern, Mobilfunk-Masten und Mikrozellen in Innenstädten, sowie Smartphones in fast jeder Hosentasche meiner Mitmenschen.
Alternative Anwendungen für das 4 Kanal SHLS sind z.B. als Schutz für den Kopf im Bett wie in der nebenstehenden Grafik angegeben. Allerdings hat das 4-Kanal SHLS anscheinend eine Polarität! In der Regel trägt man die Leiterschleife links neben dem Hals und hat das Gerät rechts in Höhe der Hüfte hängen – aber so, das man von der Seite die Beschriftung lesen kann und diese nicht auf dem Kopf steht. Trägt man das SHLS spiegelverkehrt, dann muss die Beschriftung auf dem Kopf stehen. Dies gilt, soweit die Körperpolaritäten wie üblich verteilt sind. Die Tragerichtung ist bei diesem Gerät fundamental wichtig bzw. individuell, z.B. per Neutralpendel und persönlicher Wellenlänge, zu prüfen!
Ansonsten berichtete mir ein Blog-Leser, den ich selber von Mensch-zu-Mensch kenne, zum H-Plus MHR bei Anwendung in einem Apartment: „Habe es mal auf den Sicherungskasten gepeilt. Nach paar Sekunden kam mir die Luft tatsächlich etwas leichter vor und der Stress ging etwas drunter.“ sowie zur SHLS-Steckdosenleiste: „Trotz WLAN ist beispielsweise XXX sehr entspannt und weniger emotional.“ in Bezug auf das Arbeiten am Notebook während diese mit dem WLAN-Router per Funk verbunden sind.
Die Anwendungsmöglichkeiten der König-Produkte sind also recht „gigantisch“ – man muss nur genug Kreativität aufbringen dies auch umzusetzen bzw. auszuprobieren!
Schmankerl: KING-1
Das Schmakerl habe ich mir bis zum Schluss aufgehoben: Der KING 1. Es dürfte der einzige Planar-High-End Raumklang-Kopfhöhrer sein, der eine Anti-Elektrosmog-Technologie eingebaut hat. In diesem Fall sind 2 Stück SHLS Rohre jeweils links und rechts im Kopfhörer integriert. Das „Teil“ hat nicht nur einen genialen Klang, sondern ist sicher einer der wenigen Kopfhörer mit massiver, gut recycelbarer, Echtholzapplikation (aus afrikanischem Birnenholz gedrechselt). < 0,1% Klirrfaktor & breitbandig bis 50 kHz versteht sich hier von selber.
Meinen „alten“ AKG K271 Studio, noch in Österreich produziert, habe ich eingemottet. „Geht gar nicht mehr“ – zumindest, nachdem man den KING 1 ausprobiert hat 😉
Das man solch einen Kopfhörer nicht mit 0815 beschicken sollte, versteht sich sicher von selber 😉 Ein Lavaudio DS400 768K/32Bit USB DAC Audio Kopfhörer Verstärker (oder ähnliches) empfiehlt sich hier, falls der Audioausgang des PCs oder Notebooks limitierend ist.
Hinweis: Nach Abverkauf der limitierten Sonder-Serie wird es eher keine Neuauflagen geben.
Mein Fazit
Ganz klar, dieser Artikel hat sicher sehr viele spekulative Anteile. Das sind jedoch in der Regel meine Hypothesen und nicht die von F. König. Klar ist für mich, daß die „klassische“ Physik nicht ausreicht, um die Effekte der MHR & SHLS zu beschreiben. Mittels der Radiästhesie sind die Auswirkungen jedoch klar und konsistent messbar.
Zurück zu den harten Fakten: König’s Versuche bei Dartsch geben klare Hinweise darauf, daß mit Königs Geräten etwas Positives passiert, jedoch nicht, warum. Die Studien stellen verschiedene Messergebnisse zur Diskussion, wobei natürlich nicht immer offensichtlich ist, wie nun genau der Messaufbau war. Auch wissen wir von den Zellstudien nicht nichts über Langzeiteffekte, also ob z.B. die Zellvitalität unter Belastung mit DECT/4G/5G hoch bleibt bzw. ob eine dauernde Nähe zu MHR / SHLS langfristig positiv ist bzw. ob die positiven Effekte auf hohem Niveau persistent sind. Dies trifft jedoch auch auf alle Mitbewerber von König zu. Zumindest von allen, die ich tiefer betrachtet habe – und ich habe mir viel angeschaut!
Ob nun Königs Geräte, die er seit 30 Jahren ständig optimiert, „die besten fürs Geld sind“, kann ich nicht beurteilen, da der Markt dafür zu groß und unübersichtlich ist. Für mich gibt es hier jedoch keine Alternative oder einen Kompromiss den ich eingehen würde. König scheint mir zudem ein Anbieter zu sein, der sehr transparent vorgeht und alles Relevante veröffentlicht. Gut, die Studien wurden nicht in Nature oder anderen „Top“-Journalen veröffentlicht – und und es sind durchaus viele Fragen offen. Hier muss man jedoch in sich gehen und fragen, wie und woher dies finanziert werden sollte und ob das Thema Elektrosmog „Neutralisierer“ in Top-Journalen wie „Nature“ eine Chance hätte. Zudem: Wer macht es in diesem Bereich besser? Wer?
Insofern habe ich mich selber mit Königs Geräten ausgestattet und bereue diese Entscheidung, auch über 1 Jahr später, nicht. Im Kontext Elektrosmog biologisch „zu wirkneutralisieren„ ist mir schlussendlich bisher nichts besseres begegnet als Königs Geräte. Punkt!
Zwei indirekte Aussagen von Königs Versuchen bei Dartsch
Was vielen nach dem Lesen dieses Artikels eventuell nicht richtig bewusst sein mag, ist, daß Königs Versuche bei Dartsch mal eben „nebenbei“ belegen, daß Elektrosmog mit Leistungsdichten unterhalb einer thermischen Wirkung die Zellkulturen reproduzierbar stark schädigen! Klar, kennen wir schon, aber hier wird es noch einmal explizit klar!
Der andere Aspekt ist konträr entgegengesetzt: Wenn MHR und SHLS den biologisch schädlichen Effekt von EMF (egal ob technisch oder geologisch) neutralisieren können, ohne jedoch den Funkverkehr in irgend einer Weise negativ zu beeinflussen, dann besteht ja die Frage: Was macht nun (eigentlich) die biologischen Effekte? Und weiterhin: Warum haben auch Menschen „hinter“ einem abschirmenden Baldachin oft noch Probleme?
So „könnte“ es sein, daß die transversalen Messwerte nur mit dem Auftreten einer zusätzlichen Schadenskomponente korrelieren, bzw. im „Gleichtakt“ mit einer zweiten „schädlichen Feldkomponente“ auftreten. Viel schlimmer ist jedoch, dass die transversale Komponente, z.B. durch einen Baldachin abgeschirmt werden kann, die andere Komponente jedoch ungehindert die (metallische) Abschirmung durchdringt. Genau davon gehe ich im Hinblick mit EMF 28 aus: Das es zwei Schadkomponenten von technischen EMF gibt: Transversal und „was anderes“, was ich hier oft als VNG bezeichne. I. Karim, Begründer der BioGeometry, sieht es ja auch genau so – worauf ich in Teil 2 dieser Serie schon eingegangen bin.
Wo oder wie anfangen?
O.k., wer nun interessiert ist und nicht weiß, wo & wie man anfangen soll, könnte folgendermaßen beginnen:
- mit einer SHLS-Steckdose für die Haus-IT bzw. Büro & Computer.
- In einem Haus bzw. einer (Miet-) Wohnung ggf. auch ein H+Plus MHR auf den Sicherungskasten peilend.
- Probleme auf der Arbeit und unterwegs? Ggf. ein 4-Kanal Umhänge SHLS und / oder ein USB-SHLS für den PC oder Notebook.
- Probleme mit dem neuen E-Auto oder einem Sprinter/Crafter, wo die Fahrzeugbatterie unter den Füßen ist und die Lichtmaschine nahe am rechten Bein? Dann bitte ein PKW/LKW-MHR!
- Wer unbedingt das Smartphone braucht: Ein entsprechendes (ziemlich klobiges) Mobile-Phone-SHLS oder ein USB-SHLS über einen Adapter (sowie etwas Klebeband).
Ob das alles „individuell“ das Geld „wert“ ist, kann ich nicht beantworten. Diese Entscheidung ist individuell. Auch König’s Produkte vollbringen keine Wunder, sondern reduzieren bzw. neutralisieren, wie auch immer, nur einen bestimmten Anteil von dem, was auf uns einprasselt, da die transversalen Felder nicht messbar beeinflusst werden, wie bei keinem Neutralisier- bzw. Harmonisier-Gerät. Insofern sollte man auch mit einem SHLS (oder anderem) nicht unbegrenzt mobil telefonieren oder WLAN surfen und sich den Einbau von Netzabkopplern für das Schlafzimmer überlegen. Auch „Wunder“ sollte man nicht erwarten, sondern nur eine „angemessene“ Reduzierung der schädlichen Effekte von technischen EMF, Erdstrahlen & Co..
Links / Quellen
- [1] Elektrosmog lässt sich neutralisieren, Florian M. König. Raum & Zeit Ausgabe 206, 2017
- [2] Strahlende Nahfeldquellen überall, Florian M. König. Raum & Zeit Ausgabe 227, 2020
- [3] Mehrkammer Hohlraum Resonator für Handys, Florian M. König. Raum & Zeit Ausgabe 233, 2021
- [4] Abschirm Schutz, Florian M. König. Raum & Zeit Ausgabe 244, 2023
- [5] Virtuose der Elektrotechnik: Interview mit dem Erfinder Florian M. König, NEXUS Magazin 80, Dezember-Januar 2019 (PDF) (PDF Backup)
- [6] Und täglich grüßt der Feldsalat: Neues vom Elektrowellenbrecher, Florian M. König, NEXUS Magazin 93, Februar-März 2021 (PDF) (PDF Backup)
- [7] Produktvorstellung: Elektrosmog-Neutralisierung – Die König-Methode, Florian M. König, NEXUS Magazin 113, Juni-Juli 2024 (PDF) (PDF Backup)
- [8] Neutralization of wireless DECT base radiation by novel resonance devices, Peter C. Dartsch, Florian M. König, Open Access Journals, 2017, DOI: 10.15761/IMM.301
- [9] Investigations in Electro-Stress Reduction Devices under Technical Alternating Field Emission Conditions Observing Human Cell Culture Vitalities and Correlating Measurable Marginal Mass Changes, Peter C. Dartsch, Florian M. König, Japan Journal of Medicine, 2020; 3(1): 431 – 439. doi: 10.31488/jjm.1000154
- [10] An Inherent Holistic Modeling of Human Meteorosensivity, Florian M. König, Japan Journal of Medicine, 2019; 2(4): 394 – 401 . doi: 10.31488/jjm.1000148
- [11] Detection Cell Reactions on Huge Weather Upheavals During the Extreme Stormy Low-Pressure Meteorological Conditions in February 2022s, Florian M. König, Peter C. Dartsch, Japan Journal of Medicine, 2022; 5(1): 501- 507. doi: 10.31488/JJM. 168
- [12] Observed Cell-biological Electro-stress Reduction Effects at Artificial Differing Radiation Conditions Caused by Copper Tube Accessories, Florian M König and Peter C Dartsch, Journal of Clinical and Biomedical Advances, J Clin Bio Med Adv 2024, 26 February 2024 (Backup)
- [13] The Meaningfulness of Nature-Related Radiation Forms and Resulting New Technologies, Florian König, 2024, ISBN: 978-3-9823116-0-9 (Vorschau)
- [14] Therapeutika & Elektrosmog-Abhilfen mit wissenschaftlichem Hintergrund, Florian M. König, Lebensträume, 9/2024
- [15] Directed Energy Beam Weapons the Dawn of a New Military Age., Zohuri, Bahman., Journal of Material Sciences & Manufacturing Research, 2021 (PDF)
- [16] Wetterfühligkeit, E-Smog und Technics: 30 Jahre Forschung und Entwicklung: über 20 Jahre wissenschaftliche Beweisführung, Dr. sc. Florian König, Net Journal Ausg. 7/2024 (Backup)
- [17] Comparative Investigations on the Inhibition of Mobile Phone Radiation by Multiple Compartment Cavity Resonance Devices, Peter C. Dartsch, Florian M. König, Jpn J Med 2019,2:3, 2019; 2(3): 370 – 374 . doi: 10.31488/jjm.1000144 (Backup)
- [18] MHR / SHLS Wirkmechanismen zusammengefasst – Die physikalisch beschreibbaren MHR- & SHLS-Systeme im Kontext der elektro-magnetischen sowie skalaren Welle samt Zelllinientests und marginale Massenveränderungen, Fl. König Ent. GmbH / Germany, 12.2024
- [19] Streifenleiter und Hohlleiter, Prof. Walter Janssen, Hüthig, 1992, ISBN: 3778518348
- [20] The Schornsteinfeger Project, MacFarlane, C.I.O.S Report XXVI-24 (Backup mit OCR)
- [21] Natürliche Wechselfelder, Elektrosmog und Lichtsmog und ihre Wirkung auf den Menschen, Dr. Florian König, Net Journal. Juli/August 2010
- [22] Gesünder leben ohne Elektrosmog, Dr. Florian König, Net Journal, März/April 2019
- [23] Overunity gesucht und gefunden: alternative Auflademethode von Säurebatterien Praxisbericht zur Ladetechnik unter Impulshochspannung, Dipl.-Ing. Dr. Sc. Florian König, Net Journal, Juli/August 2014
- [24] E = mc² is Wrong, Louis D. Lockett Sr, Gravital Alchemy
Videos
- [A] Florian M. König – YouTube Kanal
- [B] Dr. Florian König: Elektrosmog wirksam neutralisieren (raum&zeit Studio Talk), Raum & Zeit, 10.12.2019
- [C] Der Elektrosmogjäger, München.tv, Do, 18.02.2021
Produktanleitungen
- [P-USB] USB-SHLS
- [P-MHR] MHR Groß (Stromleitung)
- [P-SHLS] Umhänge-SHLS
- [P-MHR2] Rohranwendungen und Installationen von MHRs per Bilder aus der Praxis illustriert, was man wie macht
Patente
- [P1] EP3416722A1, ELEKTRISCH LEITENDES ROHR MIT KAMMERN MIT QUARZ UND MIT EINEM MAGNETISCHEN ELEMENT ODER EINEM KUPFERELEMENT ZUR REDUKTION VON DURCH ELEKTROMAGNETISCHE FELDER VERURSACHTER SPANNUNG, 8,2,2017 (Details) (PDF)
- [P2] EP3423149A1 , VORRICHTUNG UND SYSTEM ZUR VERRINGERUNG VON EMF-BEDINGTEM STRESS BEI ORGANISMEN AUS ELEKTRISCHEN LADUNGEN, 20.2.2017 (Details) (PDF)
- [P3] US-Patent 7 224 738, Method of high-frequency signal transmission, 29.5.2007 (PDF)
Sonstige Links
Der Rest dieses Beitrages ist nur für eingeloggte Freunde des Blogs einsehbar. Bitte logge Dich ein, oder schaue unter dem Menüpunkt 'Freunde des Blogs' für weitere Informationen wenn ein ernsthaftes Interesse besteht hier weiter zu lesen.











Neuste Kommentare